DECK FILL WITH KEYLESS CAP (SEA-DOG LINE)

Listing image Listing image
Specifications

Category Name Hardware-deck Fills Stock Number 354-3570001 Sale Type New
Manufacturer Sea-Dog Line UPC 35514357739 Hazard 9
LNSuse1 28108 LNSuse2 25257 LNSuse3 21793
ModuleID PF_35084 DMPPartNo 85-3042 KMSPartNo SDG 3570001
AS400Description DECK FILL BODY-BLACK VendorItemNumber 357000-1 WebLongDescription

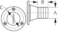
Constructed of fiberglass filled injection molded nylon. Contains no metal and does not require grounding. Has a special cap with a built-in key for easy cap removal. The hinged key can be locked in the upright position to open or close the fill and then recessed into the cap for a flush surface. 1-1/4" 11-1/2 NPSM straight cap threads. Installs with three #10 FH fasteners (not included). Will not work with pressurized oil injection systems. Connect deck fill to reservoir via hose (not included).

WebShortDescription

Seadog 3570001 Black Nylon Fill Body w/o Cap

Price Contact for price CAD  
Description
Constructed of fiberglass filled injection molded nylon. Contains no metal and does not require grounding. Has a special cap with a built-in key for easy cap removal. The hinged key can be locked in the upright position to open or close the fill and then recessed into the cap for a flush surface. 1-1/4\" 11-1/2 NPSM straight cap threads. Installs with three #10 FH fasteners (not included). Will not work with pressurized oil injection systems. Chrome plated brass safety chain.